匠心 服务 创新 品质

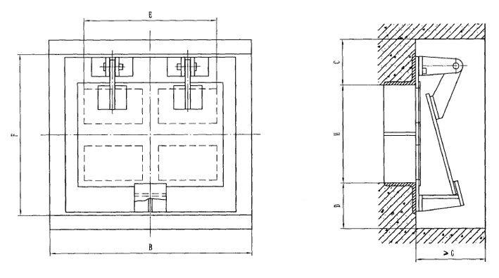
此类悬摆式活门为钢结构,使用、维护方便,适用于进、排风口和排烟口。其中悬摆式防爆波屏蔽活门是在普通悬摆式防爆活门的基础上增加了屏蔽功能,其防电磁脉冲能力为II级。

| 型号(一) | 风量(m3/h) | 转动惯量(kg·m2) | 关闭时间tg(ms) | B | C | D | E | F | G | H |
|---|---|---|---|---|---|---|---|---|---|---|
| H150(5) | 500 | 0.0163 | 4.49 | 280 | 105 | 105 | 100 | 245 | 120 | 190 |
| H200(5) | 900 | 0.0676 | 5.20 | 450 | 105 | 310 | 350 | 350 | 150 | 190 |
| H300(5) | 2000 | 0.4856 | 7.72 | 640 | 145 | 440 | 440 | 510 | 220 | 310 |
| 型号(二) | 风量(m3/h) | 转动惯量(kg·m2) | 关闭时间tg(ms) | B | B1 | C | D | E | F | G | H | H1 |
|---|---|---|---|---|---|---|---|---|---|---|---|---|
| HK400(5) | 3600 | 0.2491 | 6.67 | 440 | 560 | 200 | 150 | 200 | 300 | 300 | 800 | 940 |
| HK600(5) | 8000 | 0.6091 | 7.81 | 620 | 760 | 300 | 200 | 200 | 330 | 400 | 1400 | 1540 |
| HK800(5) | 14500 | 1.1430 | 8.43 | 650 | 790 | 300 | 150 | 225 | 415 | 450 | 2000 | 2140 |
| HK1000(5) | 22000 | 1.9374 | 8.92 | 850 | 1010 | 300 | 150 | 225 | 225 | 425 | 2100 | 2300 |