匠心 服务 创新 品质

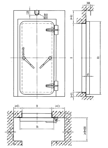
此类门的特点是具有固定门槛,门扇为梁板结构。

| 型号 | 门孔宽B | 门孔高H | 门扇厚δ | B1 | H1 | C1 | C2 | D1 | D2 |
|---|---|---|---|---|---|---|---|---|---|
| GFM0716(6) | 700 | 1600 | 112 | 900 | 1646 | 250 | 450 | 30 | 300 |
| GFM0818(6) | 800 | 1800 | 112 | 1000 | 1846 | 250 | 400 | 30 | 300 |
| GFM0820(6) | 800 | 2000 | 112 | 1000 | 2046 | 250 | 400 | 30 | 400 |
| GFM0825(6) | 800 | 2500 | 116 | 1000 | 2623 | 250 | 400 | 50 | 400 |
| GFM0920(6) | 900 | 2000 | 112 | 1100 | 2046 | 250 | 400 | 30 | 300 |
| GFM1020(6) | 1000 | 2000 | 112 | 1200 | 2046 | 250 | 400 | 30 | 300 |
| GFM1220(6) | 1200 | 2000 | 138 | 1400 | 2046 | 250 | 450 | 30 | 400 |
| GFM1320(6) | 1300 | 2000 | 132 | 1500 | 2046 | 250 | 400 | 50 | 400 |
| GFM1520(6) | 1500 | 2000 | 132 | 1700 | 2123 | 250 | 400 | 50 | 400 |
| GFM1720(6) | 1700 | 2000 | 156 | 1900 | 2123 | 300 | 500 | 150 | 400 |
| GFM2020(6) | 2000 | 2000 | 156 | 2240 | 2240 | 300 | 500 | 150 | 400 |
| GFM2025(6) | 2000 | 2500 | 176 | 2300 | 2800 | 300 | 700 | 200 | 700 |
| GFM0606(5) | 600 | 600 | 60 | 800 | 800 | 250 | 450 | 120 | 300 |
| GFM0716(5) | 700 | 1600 | 116 | 900 | 1646 | 250 | 450 | 30 | 300 |
| GFM0818(5) | 800 | 1800 | 116 | 1000 | 1846 | 250 | 450 | 30 | 300 |
| GFM0820(5) | 800 | 2000 | 116 | 1000 | 2046 | 250 | 450 | 30 | 300 |
| GFM0912(5) | 900 | 1200 | 156 | 1100 | 1246 | 250 | 450 | 30 | 300 |
| GFM0918(5) | 900 | 1800 | 156 | 1100 | 1846 | 250 | 450 | 30 | 300 |
| GFM0920(5) | 900 | 2000 | 156 | 1100 | 2046 | 250 | 450 | 30 | 300 |
| GFM1020(5) | 1000 | 2000 | 156 | 1300 | 1846 | 250 | 450 | 30 | 300 |
| GFM1118(5) | 1100 | 1800 | 156 | 1300 | 1846 | 250 | 400 | 30 | 300 |
| GFM1220(5) | 1200 | 2000 | 156 | 1400 | 2046 | 250 | 450 | 30 | 300 |
| GFM1221(5) | 1200 | 2100 | 156 | 1400 | 2146 | 250 | 450 | 30 | 300 |
| GFM1320(5) | 1300 | 2000 | 156 | 1500 | 2046 | 250 | 400 | 30 | 400 |
| GFM1321(5) | 1300 | 2100 | 156 | 1500 | 2223 | 250 | 400 | 50 | 400 |
| GFM1520(5) | 1500 | 2100 | 156 | 1700 | 2123 | 250 | 500 | 50 | 400 |
| GFM1521(5) | 1500 | 2100 | 156 | 1700 | 2223 | 250 | 500 | 50 | 400 |
| GFM1721(5) | 1700 | 2100 | 156 | 1940 | 2146 | 250 | 450 | 50 | 400 |
| GFM2020(5) | 2000 | 2000 | 156 | 2240 | 2046 | 300 | 500 | 50 | 400 |
| GFM2021(5) | 2000 | 2100 | 156 | 2240 | 2146 | 250 | 450 | 50 | 400 |
| GFM2025(5) | 2000 | 2500 | 156 | 2240 | 2546 | 250 | 450 | 30 | 300 |